Re: Duvidas de um iniciante
Cara pra voce ter acesso a sua rede voce tem que se conectar a uma antena AP
Voce pode se conecta na antena do CFTV e dai dela voce pode acessa sua rede da empresa sua pois vai ser a mesma rede.
Se ajudou clique na * abaixo
Re: Duvidas de um iniciante
Cara, a questão é exatamente essa... eu coloquei a antena (estação) em casa, pluguei nela meu notebook... apontei para o AP... houve a associação do mesmo... pensei: estou na rede! Que nada... não conseguia acessar nada da minha rede... nem pingar. Ou seja: eu ia até o AP mas este não me linkava com minha rede... queria entender onde pode estar o erro. Se a configuração básica (duas estações e um AP) estaria correta, e se estes componentes estariam nos lugares certos... ou se há algo mais prá se fazer. Haveria necessidade por exemplo de usar alguma Nano como router? Estou confuso...
Re: Duvidas de um iniciante
Tu usa wap2 ou trava o acesso por MAC??
Re: Duvidas de um iniciante
Re: Duvidas de um iniciante
ola boa noite
o nano de sua empresa tem que ser AP e na torre tem que ter um nano em modo estação plugado diretamente num Switch e deste switch sai um cabo para outro nano na torre em modo Ap para poder repassa o sinal de internet para o seu nano em sua casa
desta forma da tudo certo
Re: Duvidas de um iniciante
vc vai ter que por o nano do escritori em modo AP e na torre 2 nanos um com cliente para receber do escritorio e o outro com AP para enviar o sinal da net para seu nano e modo cliente
1 Anexo(s)
Re: Duvidas de um iniciante
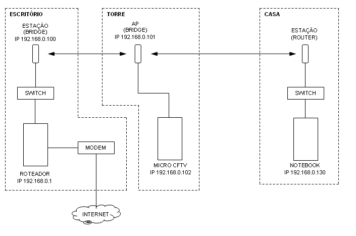
Prezado Kalboy,
Pelo que entendi minha configuração deveria ficar como esboçado abaixo, concorda?
Anexo 19583
1 Anexo(s)
Re: Duvidas de um iniciante
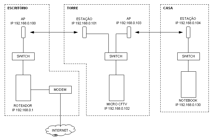
Mais uma Kalboy: não poderia ser do jeito abaixo?
Anexo 19587
Re: Duvidas de um iniciante
Cara EltonGuedes, eu tenho algo parecido com o seu, funciona normalmente.
Na sua torre, tem que estar como AP, e os outros casa e escritório como estação.
está dando visada direto da sua casa até a torre?
Re: Duvidas de um iniciante
Lembrando meu caro que tem que estar td em Bridge se não for assim não funciona, abçs.
1 Anexo(s)
Re: Duvidas de um iniciante
Citação:
Postado originalmente por
mbarranco
Cara EltonGuedes, eu tenho algo parecido com o seu, funciona normalmente.
Na sua torre, tem que estar como AP, e os outros casa e escritório como estação.
está dando visada direto da sua casa até a torre?
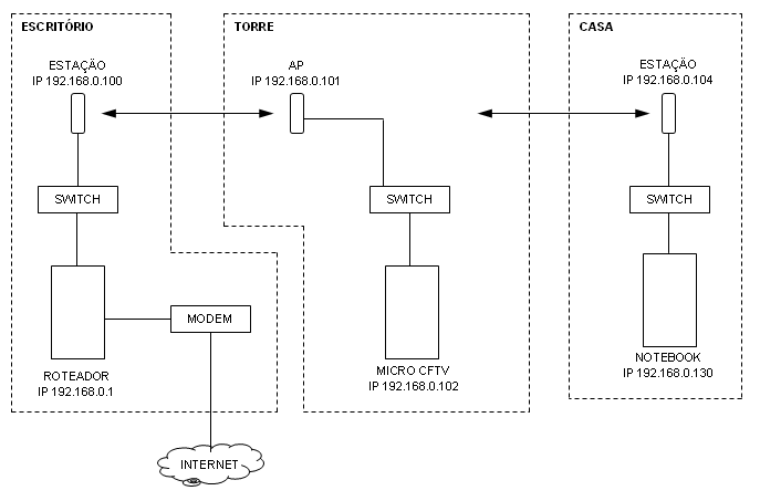
Bom dia...
Pois é Marcelo, eu tinha pensado em fazer assim, apenas duas estações e o AP na torre, pois tenho visada das duas estações para a torre (elas estão na mesma direção, uma depois da outra) e distância que não chega a 1,5 km. Veja o esquema abaixo. Só que testei assim e não funcionou. :(
A única coisa que fiz diferente deste esquema é que o notebbok foi conectado direto na antena e não no switch... será que pode ser por isso? Outra coisa: a rede mesmo está no escritório, onde tenho a internet. Quero poder acesar a rede de casa e inclusive a internet.
Anexo 19594