
Postado originalmente por
rubem
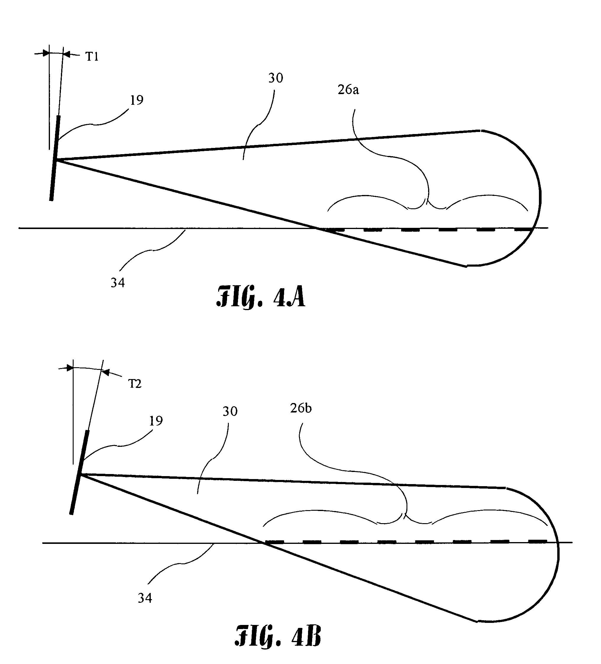
Nesse local, uma setorial Ubiquiti com 6° de abertura vertical, ia passar por cima de uns vizinhos a 200 ou 300m, já que parece ter diferença de altura bem grande.
Seria só inclinar a basestation UBNT, mas se inclinar pros clientes mais próximos, o ângulo muito pequeno faz o sinal não ir muito longe, acontece isso:

Situação ideal é quando a setorial tem pelo menos uns 10° de abertura, e você pode inclinar ela uns 5° pro chão, aí fica digamos assim:
A Algcom tem angulo vertical bem grande, facilita nessa questão, cliente perto e distante vai estar num ângulo bom.
A SXT SA5 não tem diagrama atual no site da MK, mas quando tinha, mostrava uma abertura vertical bem grande, também serviria bem num caso desse, onde a setorial ficará praticamente 50m acima do telhado de umas casas a 200m de distância. Mas ela não tem homologação.